| Brackets are
classified into horizontal, angled, vertical, and annexed
brackets and are used when constructing the framework by
fastening it to the earth beneath the single scaffolding
to install a work plank. Bracket standards vary for each
manufacturer. |
|
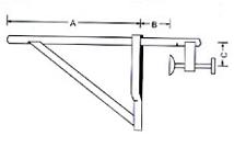
| # Balcony Bracket |
| (Installed in every floor below the eighth floor for the single scaffolding, and below every fifth floor for every double scaffolding.) |
 |
|
 |
| |
|
|
| MODEL |
A |
B |
C |
| Single
scaffolding |
740m/m |
100~160m/m |
150m/m |
| 690m/m |
160~210m/m |
150m/m |
| Double scaffolding |
890~940m/m |
160~210m/m |
150m/m |
|
|
|
|
 |
|
 |
|
| |
| # Side Wall Bracket |
 |
|
 |
| |
|
|
 |
For
Single Scaffolding - 7.9㎏ |
 |
|
|
|
|
|
 |
For
Double Scaffolding - 14.4㎏ |
 |
|
|
|
|
|
 |
|
 |
|
| |
| # The back side for adjust |
 |
|
 |
| |
|
|
 |
For
Single Scaffolding - 6.5㎏ |
 |
|
|
|
|
|
 |
For
Double Scaffolding - 12.5㎏ |
 |
|
|
|
|
|
 |
|
 |
|
| |
| # Slab Bracket |
|
|
 |